BI 前端实践 16:BI 管理系统
实践目标
之前实践中了解了润乾BI多个模块的功能,现在用一个管理系统把它们串联组合起来,形成一个完整的BI系统。
BI产品是一个针对多维分析的系统
大多数BI产品最终的表现形式是一个完整的管理系统,管理多维分析相关的资源,数据源、预制CUBE、制作的多维分析,基于用户角色权限控制谁能使用、制作、查看哪些资源。
润乾也提供了一个拿来直接能用的BI管理系统 :润乾报表中心。它管理的内容比较多,除了传统的润乾报表、大屏Dashboard、填报表,也包括模块化方式实现的多维分析、自助查询。
用户系统
润乾报表的设计器中,启动tomcat,然后点击预览就可以在浏览器中进入系统了:

登录界面,超级管理员用户/初始密码:admin/a000000。

用户管理中增删用户,给某个用户设置的dql宏、报表参数,可以动态控制查询、分析、报表中的数据范围。

每一个用户隶属于一个机构,机构管理中增删机构,能看到机构下的用户:

很多权限是在机构上控制的,机构相当于角色,点击某个机构,可以设置这个机构对各种资源的使用权限(后面会专门的介绍权限控制的用法):

润乾报表中心是个轻量的WEB系统,上面介绍的用户、机构,包括接下来了解的各种资源文件、资源树等都以xml格式存储,文件是WEB-INF/reportCenter.xml:

资源文件管理
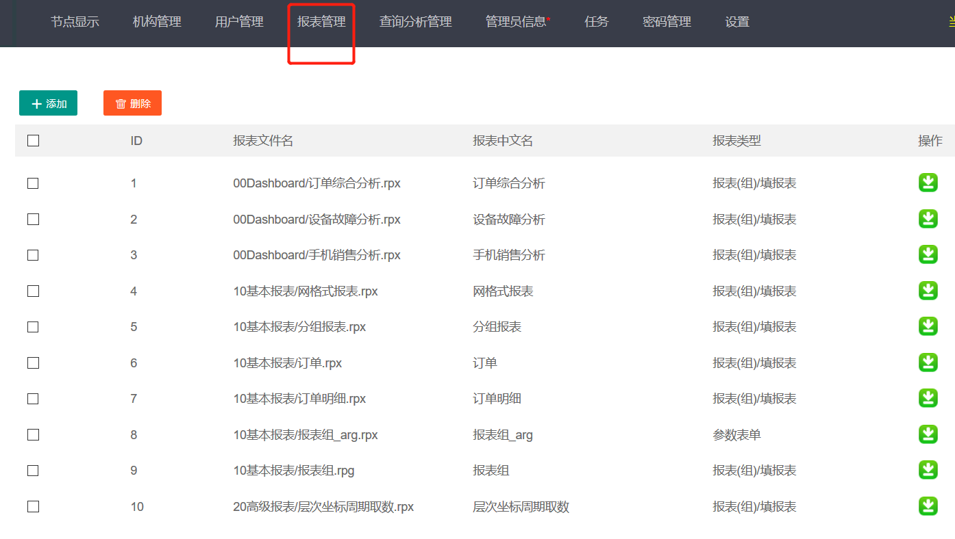
报表管理管理报表相关的各种类型文件:

相关的文件类型如下:

管理自助查询、多维分析相关的文件:

组建资源树
用一个资源树管理各种资源:

资源树上可以添加下面这些类型的节点:

节点--基于SQL多维分析
新建一个基于demo库的SQL分析

然后点击上面的预览按钮
就可以进行分析,如下制作成四个报表的多维分析:

节点--基于DQL多维分析
选择DQL Server中的一些表做多维分析:

点击预览,在四个表范围内做分析:

多维分析可以保存成”四表DQL分析.olap”,这个分析文件也可以加入资源库,分享给别人看分析结果,或直接把当前这个资源节点分享给别人,让他们自己基于这些表做分析:

各种资源的管理用法就不一一列举了,在界面上点点就能看明白。
权限控制
通过前面的介绍,对系统中的功能和资源就有了初步了解,本节了解怎么针对它们做权限控制。
数据权限
数据权限可以在用户上控制,下面设置李芳使用的可视文件(vsb)及宏值(可视文件和宏的概念可参见前几节的内容):

李芳登录后做订单分析时,只能看到自己的数据:

针对同一个多维分析,管理员登录时,因为没有数据条件限制,就能看到所有人的数据:

这样的权限控制在DQL多维分析模块已经介绍过,模块中提供了控制权限的基础能力,报表中心针对具体用户设置条件值就可以了。
功能权限
能使用报表中心中的哪些功能,是定义在机构(角色)上的。李芳的机构是销售代表,设置销售代表能管理报表、管理查询分析:

能看到某些资源节点:

李芳登录后,这些功能使用的权限都能体现在页面上:

与现有系统集成
BI厂商提供的BI产品,通常已经是一个功能丰富,流程顺畅的管理系统。但各行各业企业中运行的BI系统大多并非原厂产品,这主要是因为管理系统的需求复杂多样,难以一套管理标准包打天下。所以,基于BI厂商提供的样例系统,如果能根据自身需求,做少量二次开发,也容易对接到企业已有的其它信息系统,就算是种高效的BI方案了。这要求原厂BI系统层次清晰,功能模块独立、接口丰富,从而具备良好的集成性。本篇介绍润乾BI提供的一些集成性能力。
集成微信登录
微信给众多软件提供了第三方登录的支持,用微信扫码登录会比较便捷。但这个能力需要使用者去微信开放平台申请,具体申请过程不详述,最终申请的结果是:针对用户申请的网址,微信提供AppID和AppSecret两个字符串码,用它们实现微信扫码登录。
将AppID和AppSecret分别填入到../report/web/webapps/demo/WEB-INF/ weixin.properties中的web.appid和web.appsecret。

设置完成后,就能在登录界面用微信登录了:

最后一个步骤是微信登录的账号和润乾BI账号的关联对应,用户第一次用微信扫码登录成功后,会提示绑定润乾BI的账号:


微信提供JAVA库的API实现微信登录,润乾BI代码里内置做了对接,用户只需要如上配置就集成好了。
集成已有信息系统的用户账号
企业用户在部署BI系统之前,大多已经有了使用中的信息系统,如果这时把BI系统当成一个独立的全新系统使用,让用户重复注册就不友好了。可以用以下两种方式做预先处理:
润乾BI的用户信息都存储在reportCenter.xml中:
<?xml version="1.0" encoding="UTF-8"?>
<reportCenter>
… …
<users>
<user id="1" name="王伟"roleId="2"password="82273A6BA2126D3AF24CE2D0CB0AF515"></user>
… …
<users>
</reportCenter>
预先批量把全部用户按照上面格式编辑好,拷贝进来。
另外,管理这些用户的JAVA主要类是com.raqsoft.center.console.UserServlet.java,可以修改它,直接读取已有系统的数据,动态的管理润乾BI中的账号。
源代码
{web根路径}/WEB-INF/reportCenter.xml,报表中心系统的核心数据,采用xml文件方式记录,未使用数据库。
{web根路径}/WEB-INF/raqsoftConfig.xml,润乾报表、集算器运行环境主要配置文件,含JDBC的可用数据源等。
JSP/JS/图片等web相关的文件在{web根路径}/raqsoft/center/目录下,这里除了实现报表中心功能的自身JSP外,还会拷贝润乾其它功能模块的JSP进行改造,如多维分析olap.jsp/自助查询qyx.jsp/显示润乾报表showReport.jsp,使用它们的taglib,定制适合报表中心的功能。
JAVA代码的根路径是com.raqsoft.center包。
通过这一系列实践,了解了润乾BI多个模块的功能,知道了它们解决了哪些方面的问题,如何集成使用这些模块。最后也提供了一个全功能串联的管理系统──润乾报表中心。它实现了基本完整的用户角色权限控制及资源管理,但界面细节不突出,针对用户间沟通、共享、在线实现业务流程等外围功能也没做深度实现,不适合较高的场景需求。急着上线或要求不高时,可以拿来用。
另外,作为一个所有基础模块的集散地,提供了相关的源代码,做二次开发时可以借鉴。比如补足自己熟悉行业的管理功能,就可以开发出一套行业适用的BI系统。
对润乾产品感兴趣的小伙伴,一定要知道软件还能这样卖哟性价比还不过瘾? 欢迎加入好多乾计划。
这里可以低价购买软件产品,让已经亲民的价格更加便宜!
这里可以销售产品获取佣金,赚满钱包成为土豪不再是梦!
这里还可以推荐分享抢红包,每次都是好几块钱的巨款哟!
来吧,现在就加入,拿起手机扫码,开始乾包之旅

嗯,还不太了解好多乾?
